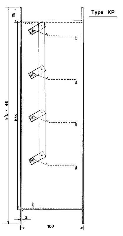
Selbsttätige Überdruckklappe für Kanaleinbau Type KP
Automatic overpressure flap for duct installation typ KP

Selbsttätige Überdruckklappe für Kanaleinbau
Lamellen öffnen synchron (rostfreies Gestänge)
Lamellen öffnen synchron (rostfreies Gestänge)
Lamellen geöffnet innerhalb des U-Rahmens
Type KP
- aus seewasserbeständigem Aluminium (Al Mg³), Lamellen profiliert mit Gummidichtung,
U-Rahmen beidseitig 25 mm ungebohrt. - aus verzinktem Stahlblech, Lamellen Profiliert mit Gummidichtung,
U-Rahmen beidseitig 25 mm ungebohrt - aus rostfreiem Stahlblech (1.4571 / 1.4301), Lamellen Profiliert mit Gummidichtung, ,
U-Rahmen beidseitig 25 mm, ungebohrt - aus 2 mm Kupferblech, Lamellen Profiliert mit Gummidichtung,
U-Rahmen beidseitig 25 mm, ungebohrt
_______________________________________________________________________________________________________________________________________
Automatic overpressure flap for duct installation
Slats open synkron (stainless linkage)
Slats open inside the U-frame
Typ KP
- made of seawater-resistant aluminum (Al Mg³), lamellas profiled with rubber seal,
U frame on both sides 25 mm undrilled. - made of galvanized sheet steel, lamellas profiled with rubber seal,
U frame on both sides 25 mm undrilled - made of stainless steel sheet (1.4571 / 1.4301), lamella profiled with rubber seal,
U-frame on both sides 25 mm, undrilled - made of 2 mm copper sheet, lamella profiled with rubber seal,
U-frame on both sides 25 mm, undrilled
